开始我们的任务管理
团队在进行任务管理时总是遇到一些困难,例如:
任务繁杂难分配、任务过程不清楚;
责任不能到人、无法掌控任务进度;
协作沟通执行困难、人工统计数据的困难;
...
而利用易尚云的甘特图做任务管理可以将业务规划和落地执行联系起来,完成从上到下的计划分派、进度监控和从下至上的进度反馈,帮助管理者弄清项目的剩余任务,评估工作进度。
传统任务管理与易尚云任务管理对比 |
|---|
![]() |
怎样利用甘特图做任务管理呢?
甘特图是将任务与时间联系起来的一种图表形式,以图示来显示项目、进度、和其他时间相关的系统进展的内在关系,随着时间进展的情况,直观表明计划何时进行、进展与要求的对比。除此之外,甘特图还可以应用在各类预约场景的数据展示,如会议室预约情况、课程预约情况等。
易尚云任务管理效果展示 |
|---|
![]() |
示例 (会议室预约)
以会议室预约为例制作一个甘特图进行任务管理。
- 设计任务表单并录入数据
设计如图所示的会议室预约表单,发布给成员填报表单来进行会议室预约。
| 表单设计页面 |
|---|
![]() |
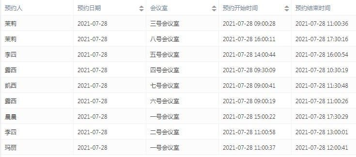
预约的数据如下图所示:
| 预约数据效果 |
|---|
![]() |
- 创建1个甘特图
在分析报表组件中拖拽创建甘特图。
| 甘特图创建示意 |
|---|
![]() |
- 添加数据源并设计甘特图
将刚刚设计的表单添加至数据源后,可以设置任务:【维度】&【开始时间】&【结束时间】(精度设置小时、日、月,能清晰展示每个任务历时长短) 【显示字段】、【过滤条件】(对于进行中的任务,可以通过过滤条件筛选出需要统计的数据)
【排序规则】(按照指定的格式(升序、降序、自定义排序)对甘特图内的数据进行排序)
【进度】(值为 1 时代表进度为 100%以此类推等)。
| 甘特图任务设置 |
|---|
![]() |
进行甘特图的美化,在右侧功能配置面板上可以对甘特图设置
【缩放等级】*1-8级,根据任务处理周期,可按年份——小时的八种时间跨度查看视图
【数据标签】、【图例】、【颜色样式】等让甘特图进度条的比例达到最佳阅读效果。
| 甘特图任务美化 |
|---|
![]() |
- 设置报表权限&发布报表
给团队的成员设置此甘特图的报表权限,也就是该报表的数据哪些人可以操作报表的数据,分别有什么操作权限。
| 甘特图权限设置 |
|---|
![]() |
将报表发布给成员,只有被发布的成员才能看到该报表。被发布的成员点击报表,可以看到刚刚设置的甘特图,并使用甘特图。 具有相关权限的成员可以:
1.点击查看预约详情,并可以对数据进行编辑、删除、打印、评论及查看动态等操作
2.点击右上角添加数据
3.右下角调整甘特图缩放比例
| 甘特图发布 |
|---|
![]() |
甘特图在PC端的效果演示
| PC端效果演示 |
|---|
![]() |
甘特图同步在移动端的效果展示
| 移动端效果演示 |
|---|
![]() |
甘特图可适用多种项目环境,您可设置任务的结束日期单位为结束日期或者工作日数,也可以委派多人负责一个项目,将多人协作责任到人,任务进度全程掌控。










